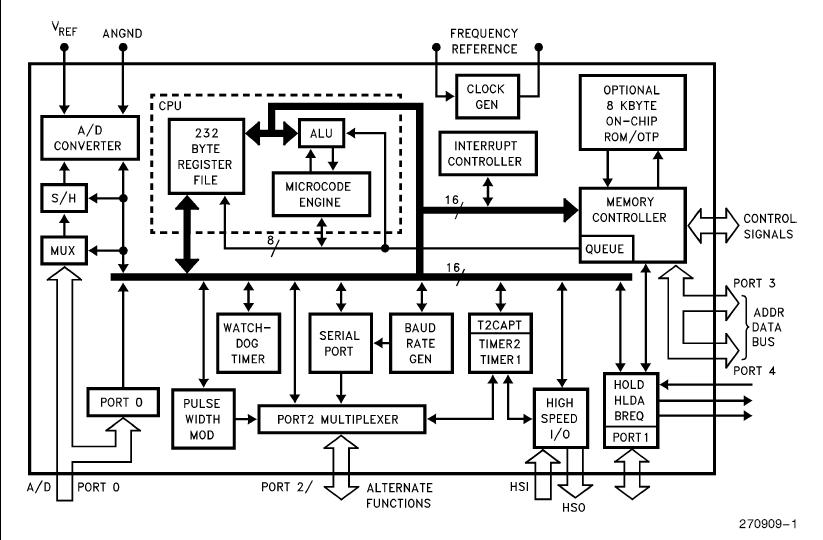
Product Summary
The EN87C196KB16 is a 16-bit microcontroller available in three different memory varieties: ROMless (80C196KB), 8K ROM (83C196KB) and 8K OTP (One Time Programmable D87C196KB). The EN87C196KB16 is a high performance member of the MCS 96 microcontroller family. The EN87C196KB16 has the same peripheral set as the 8096BH and has a true superset of the 8096BH instructions. Intel’s CHMOS process provides a high performance processor along with low power consumption. To further reduce power requirements, the processor can be placed into Idle or Power down Mode.
Parametrics
EN87C196KB16 absolute maximum ratings: (1)Ambient Temperature Under Bias: -55℃ to +125℃; (2)Storage Temperature: -65℃ to +150℃; (3)Voltage on Any Pin to VSS: -0.5V to +7.0V; (4) Power Dissipation: 1.5W.
Features
EN87C196KB16 features: (1)8 Kbytes of On-Chip ROM/OTP Available; (2)232 Byte Register File; (3)Register-to-Register Architecture; (4)28 Interrupt Sources/16 Vectors; (5)1.75 ms 16 x 16 Multiply (16 MHz); (6)3.0 ms 32/16 Divide (16 MHz); (7)Power down and Idle Modes; (8)Five 8-Bit I/O Ports; (9)16-Bit Watchdog Timer; (10)12 MHz and 16 MHz Available; (11)Dedicated 15-Bit Baud Rate Generator; (12)Dynamically Configurable 8-Bit or 16-Bit Bus width; (13)Full Duplex Serial Port; (14)High Speed I/O Subsystem; (15)16-Bit Timer; (16)16-Bit Up/Down Counter with Capture; (17)Pulse-Width-Modulated Output; (18)Four 16-Bit Software Timers; (19)10-Bit A/D Converter with Sample/Hold; (20)HOLD/HLDA Bus Protocol; (21)Extended Temperature Available.
Diagrams

| Image | Part No | Mfg | Description | ![]() |
Pricing (USD) |
Quantity | ||||
|---|---|---|---|---|---|---|---|---|---|---|
![]() |
![]() EN87C196KB16 |
![]() |
![]() IC MCU 16-BIT 5V 8K OTP 68-PLCC |
![]() Data Sheet |
![]() Negotiable |
|
||||
| Image | Part No | Mfg | Description | ![]() |
Pricing (USD) |
Quantity | ||||
![]() |
![]() EN87C196CA |
![]() |
![]() IC MCU 16-BIT 5V 32K OTP 68-PLCC |
![]() Data Sheet |
![]() Negotiable |
|
||||
![]() |
![]() EN87C196CB |
![]() |
![]() IC MCU 16-BIT 5V 56K OTP 84-PLCC |
![]() Data Sheet |
![]() Negotiable |
|
||||
![]() |
![]() EN87C196KB16 |
![]() |
![]() IC MCU 16-BIT 5V 8K OTP 68-PLCC |
![]() Data Sheet |
![]() Negotiable |
|
||||
![]() |
![]() EN87C196KC20 |
![]() |
![]() IC MCU 16-BIT 16K 5V 20 68-PLCC |
![]() Data Sheet |
![]() Negotiable |
|
||||
![]() |
![]() EN87C196NT |
![]() |
![]() IC MCU 16-BIT 5V 32K OTP 68-PLCC |
![]() Data Sheet |
![]() Negotiable |
|
||||
![]() |
![]() EN87C251SA16 |
![]() |
![]() IC MCU 8BIT 8K 16MHZ OTP 44-PLCC |
![]() Data Sheet |
![]() Negotiable |
|
||||
(Hong Kong)









