Product Summary
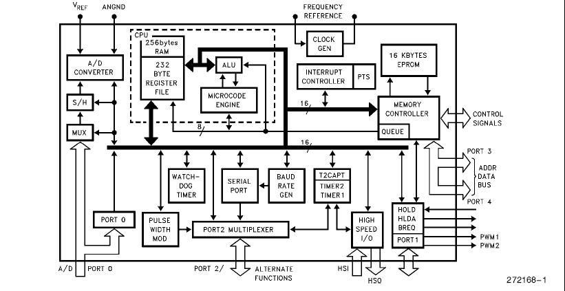
The EN87C196KDH 16-bit microcontroller is a high-performance member of the MCS 96 microcontroller family. The EN87C196KDH is an enhanced 8XC196KC device with 1000 bytes RAM, 16 MHz operation and 32 Kbytes of on-chip EPROM. Intel’s CHMOS process provides a high-performance processor along with low power consumption.
Parametrics
EN87C196KDH absolute maximum ratings: (1)Ambient Temperature Under Bias: -40℃ to +125℃; (2)Storage Temperature: -65℃ to +150℃; (3)Voltage On Any Pin to VSS Except EA and VPP: -0.5V to +7.0V; (4) Voltage from EA or VPP to VSS: -0.5V to +13.0V; (5) Power Dissipation: 0.43W.
Features
EN87C196KDH features: (1)-40℃ to +125℃; (2)32 Kbytes of On-Chip EPROM; (3)232 Byte Register File; (4)768 Bytes of Additional RAM; (5)Register-to-Register Architecture; (6)28 Interrupt Sources/16 Vectors; (7)Peripheral Transaction Server; (8)1.75μs 16 x 16 Multiply (16 MHz); (9)3.0μs 32/16 Divide (16 MHz); (10)Powerdown and Idle Modes; (11)Five 8-Bit I/O Ports; (12)16-Bit Watchdog Timer; (13)Dynamically Configurable 8-Bit or 16-Bit Buswidth ; (14)Full Duplex Serial Port; (15)High Speed I/O Subsystem; (16)16-Bit Timer; (17)16-Bit Up/Down Counter with Capture; (18)3 Pulse-Width-Modulated Outputs; (19)Four 16-Bit Software Timers; (20)8- or 10-Bit 8-Channel A/D Converter with Sample/Hold; (21)HOLD/HLDA Bus Protocol; (22)OTP One-Time Programmable and QROM Versions; (23)Available in 12 MHz and 16 MHz Versions; (24)16 MHz Operation.
Diagrams

![]() |
![]() EN87C196CA |
![]() |
![]() IC MCU 16-BIT 5V 32K OTP 68-PLCC |
![]() Data Sheet |
![]() Negotiable |
|
||||
![]() |
![]() EN87C196CB |
![]() |
![]() IC MCU 16-BIT 5V 56K OTP 84-PLCC |
![]() Data Sheet |
![]() Negotiable |
|
||||
![]() |
![]() EN87C196KB16 |
![]() |
![]() IC MCU 16-BIT 5V 8K OTP 68-PLCC |
![]() Data Sheet |
![]() Negotiable |
|
||||
![]() |
![]() EN87C196KC20 |
![]() |
![]() IC MCU 16-BIT 16K 5V 20 68-PLCC |
![]() Data Sheet |
![]() Negotiable |
|
||||
![]() |
![]() EN87C196NT |
![]() |
![]() IC MCU 16-BIT 5V 32K OTP 68-PLCC |
![]() Data Sheet |
![]() Negotiable |
|
||||
![]() |
![]() EN87C251SA16 |
![]() |
![]() IC MCU 8BIT 8K 16MHZ OTP 44-PLCC |
![]() Data Sheet |
![]() Negotiable |
|
||||
(Hong Kong)








