Product Summary
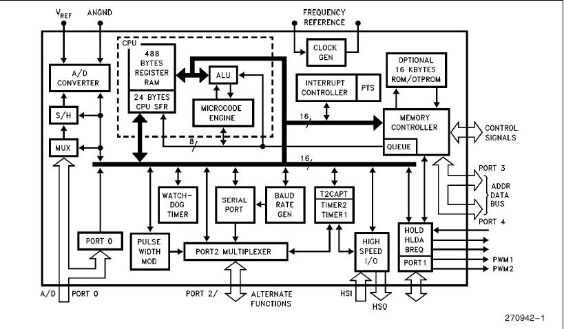
The EN87C196KC20 16-bit microcontroller is a high performance member of the MCS 96 microcontroller family. The EN87C196KC20 is an enhanced 80C196KB device with 488 bytes RAM, 16 and 20 MHz operation and an optional 16 Kbytes of ROM/OTPROM. Intel’s CHMOS III process provides a high performance processor along with low power consumption. The EN87C196KC20 is an 80C196KC with 16 Kbytes on-chip OTPROM.
Parametrics
EN87C196KC20 absolute maximum ratings: (1)Ambient Temperature Under Bias: -55℃ to +125℃; (2)Storage Temperature: -65℃ to +150℃; (3)Voltage on Any Pin to VSS: -0.5V to +7.0V; (4) Voltage from EA or VPP to VSS or ANGND: 13.00V; (5) Power Dissipation: 1.5W.
Features
EN87C196KC20 features: (1)16 and 20 MHz Available; (2)488 Byte Register RAM; (3)Register-to-Register Architecture; (4)28 Interrupt Sources/16 Vectors; (5)Peripheral Transaction Server; (6)1.4 ms 16 x 16 Multiply (20 MHz); (7)2.4 ms 32/16 Divide (20 MHz); (8)Power down and Idle Modes; (9)Five 8-Bit I/O Ports; (10)16-Bit Watchdog Timer; (11)Extended Temperature Available; (12)Dynamically Configurable 8-Bit or 16-Bit Buswidth; (13)Full Duplex Serial Port; (14)High Speed I/O Subsystem; (15)16-Bit Timer; (16)16-Bit Up/Down Counter with Capture; (17)3 Pulse-Width-Modulated Outputs; (18)Four 16-Bit Software Timers; (19)8- or 10-Bit A/D Converter with Sample/Hold; (20)HOLD/HLDA Bus Protocol; (21)OTPROM One-Time Programmable Version.
Diagrams

| Image | Part No | Mfg | Description | ![]() |
Pricing (USD) |
Quantity | ||||
|---|---|---|---|---|---|---|---|---|---|---|
![]() |
![]() EN87C196KC20 |
![]() |
![]() IC MCU 16-BIT 16K 5V 20 68-PLCC |
![]() Data Sheet |
![]() Negotiable |
|
||||
| Image | Part No | Mfg | Description | ![]() |
Pricing (USD) |
Quantity | ||||
![]() |
![]() EN87C196KB16 |
![]() |
![]() IC MCU 16-BIT 5V 8K OTP 68-PLCC |
![]() Data Sheet |
![]() Negotiable |
|
||||
![]() |
![]() EN87C196KC20 |
![]() |
![]() IC MCU 16-BIT 16K 5V 20 68-PLCC |
![]() Data Sheet |
![]() Negotiable |
|
||||
![]() |
![]() EN87C196NT |
![]() |
![]() IC MCU 16-BIT 5V 32K OTP 68-PLCC |
![]() Data Sheet |
![]() Negotiable |
|
||||
![]() |
![]() EN87C251SA16 |
![]() |
![]() IC MCU 8BIT 8K 16MHZ OTP 44-PLCC |
![]() Data Sheet |
![]() Negotiable |
|
||||
![]() |
![]() EN87C251SB16 |
![]() |
![]() IC MCU 8BIT 16K 16MHZ OTP 44PLCC |
![]() Data Sheet |
![]() Negotiable |
|
||||
![]() |
![]() EN87C251SP16 |
![]() |
![]() IC MCU 8-BIT 8K 16MHZ OTP 44PLCC |
![]() Data Sheet |
![]() Negotiable |
|
||||
(Hong Kong)









