Product Summary
The MC68HC908JL8CFAE is a member of the low-cost, high-performance M68HC08 Family of 8-bit microcontroller units. The MC68HC908JL8CFAE is based on the customer-specified integrated circuit (CSIC) design strategy. The MC68HC908JL8CFAE use s the enhanced M68HC08 central processor unit (CPU08) and are available with a variety of modules, memory sizes and types, and package types.
Parametrics
MC68HC908JL8CFAE absolute maximum ratings: (1)Supply voltage VDD:–0.3 to +6.0V; (2)Input voltage VIN VSS:–0.3 to VDD +0.3V; (3)Mode entry voltage, IRQ pin VTST VSS:–0.3 to +8.5V; (4)Maximum current per pin excluding VDD and VSS I: ±25mA; (5)Storage temperature TSTG:–55℃ to +150℃; (6)Maximum current out of VSS IMVSS: 100mA; (7) Maximum current into VDD IMVDD: 100mA.
Features
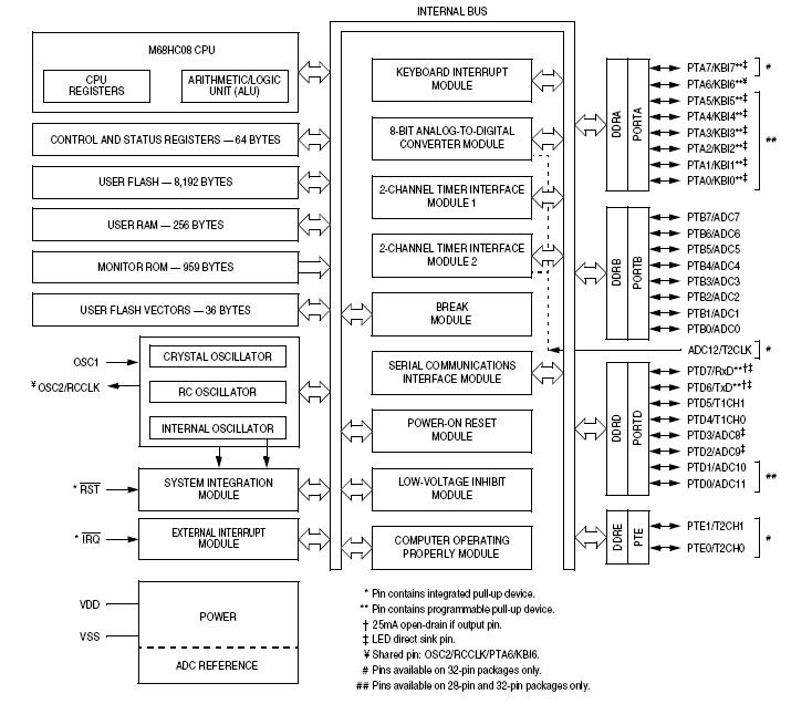
MC68HC908JL8CFAE features: (1)High-performance M68HC08 architecture,; (2)Fully upward-compatible object code with M6805, M146805, and M68HC05 Families; (3)Low-power design; fully static with stop and wait modes; (4)Maximum internal bus frequency: 8-MHz at 5V operating voltage, 4-MHz at 3V operating voltage; (5)Oscillator options: Crystal or resonator, RC oscillator; (6)8,192 bytes user program FLASH memory with security1 feature; (7)256 bytes of on-chip RAM; (8)Two 16-bit, 2-channel timer interface modules (TIM1 and TIM2) with selectable input capture, output compare, and PWM capability on each channel; external clock input option on TIM2; (9)13-channel, 8-bit analog-to-digital converter (ADC); (10)Serial communications interface module (SCI); (11)26 general-purpose input/output (I/O) ports: 8 keyboard interrupt with internal pull-up, 11 LED drivers (sink), 2×25mA open-drain I/O with pull-up; (12)Resident routines for in-circuit programming and EEPROM emulation; (13)Master reset pin with internal pull-up and power-on reset; (14)Enhanced HC05 programming model; (15)Extensive loop control functions; (16)16 addressing modes (eight more than the HC05); (17)16-bit index register and stack pointer; (18)Memory-to-memory data transfers; (19)Fast 8 ?8 multiply instruction; (20)Fast 16/8 divide instruction; (21)Binary-coded decimal (BCD) instructions; (22)Optimization for controller applications; (23)Efficient C language support.
Diagrams

| Image | Part No | Mfg | Description | ![]() |
Pricing (USD) |
Quantity | ||||||||||||
|---|---|---|---|---|---|---|---|---|---|---|---|---|---|---|---|---|---|---|
![]() |
![]() MC68HC908JL8CFAE |
![]() Freescale Semiconductor |
![]() 8-bit Microcontrollers (MCU) MCU 8K FLASH 8 BIT ADC |
![]() Data Sheet |
![]()
|
|
||||||||||||
| Image | Part No | Mfg | Description | ![]() |
Pricing (USD) |
Quantity | ||||||||||||
![]() |
![]() MC6800 |
![]() Other |
![]() |
![]() Data Sheet |
![]() Negotiable |
|
||||||||||||
![]() |
![]() MC6801 |
![]() Other |
![]() |
![]() Data Sheet |
![]() Negotiable |
|
||||||||||||
![]() |
![]() MC68020 |
![]() Other |
![]() |
![]() Data Sheet |
![]() Negotiable |
|
||||||||||||
![]() |
![]() MC68020CEH16E |
![]() Freescale Semiconductor |
![]() Microprocessors (MPU) 32-BIT MPU |
![]() Data Sheet |
![]() Negotiable |
|
||||||||||||
![]() |
![]() MC68020CEH25E |
![]() Freescale Semiconductor |
![]() Microprocessors (MPU) 32-BIT MPU |
![]() Data Sheet |
![]() Negotiable |
|
||||||||||||
![]() |
![]() MC68020CRC16E |
![]() Freescale Semiconductor |
![]() Microprocessors (MPU) 32-BIT MPU |
![]() Data Sheet |
![]() Negotiable |
|
||||||||||||
(Hong Kong)










