Product Summary
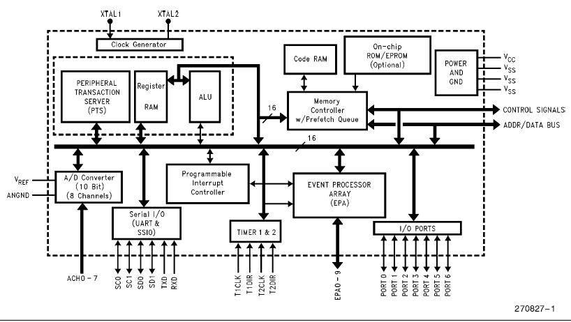
The EN87C196JT16 is an advanced 16-bit CHMOS microcontroller. The EN87C196JT16 is composed of the high-speed (16 MHz) core as well as the following peripherals: up to 48Kbytes of Programmable EPROM, up to 1.5Kbytes of Register RAM, 512 bytes of code RAM (16-bit addressing modes) with the ability to execute from this RAM space, an eight channel-10-Bit/g3 LSB analog to digital converter with programmable S/H times with conversion times <5μs at 16 MHz, an asynchronous/synchronous serial I/O port (8096 compatible) with a dedicated 16-bit baud rate generator, an additional synchronous serial I/O port (8096 compatible) with a dedicated 16-bit baud rate generator, an additional synchronous serial I/O port with full duplex master/slave transceivers, a flexible timer/ counter structure with prescaler, cascading, and quadrature capabilities, 10 modularized multiplexed high speed I/O for capture and compare (called Event Processor Array) with 250 ns resolution and double buffered inputs, a sophisticated prioritized interrupt structure with programmable Peripheral Transaction Server (PTS). The PTS has several channel modes, including single/burst block transfers from any memory location to any memory location, a PWM and PWM toggle mode to be used in conjunction with the EPA, and an A/D scan mode.
Parametrics
EN87C196JT16 absolute maximum ratings: (1)Storage Temperature: -60℃ to +150℃; (2)Voltage from VPP or EA to VSS or ANGND: -0.5V to +13.0V; (3) Voltage from Any Other Pin to VSS or ANGND: -0.5V to +7.0V this includes VPP on ROM and CPU devices; (4) Power Dissipation: 0.5W.
Features
EN87C196JT16 features: (1)-40℃ to +125℃ Ambient; (2)High Performance CHMOS 16-Bit CPU; (3)Up to 48Kbytes of On-Chip EPROM; (4)Up to 1.5Kbytes of On-Chip Register RAM; (5)Up to 512 Bytes of Additional RAM (Code RAM); (6)Register-Register Architecture; (7)Up to 8 Channel/10-Bit A/D with Sample/Hold; (8)Up to 37 Prioritized Interrupt Sources; (9)Up to Seven 8-Bit (56) I/O Ports; (10)Full Duplex Serial I/O Port; (11)Dedicated Baud Rate Generator; (12)Interprocessor Communication Slave Port; (13)High Speed Peripheral Transaction Server (PTS); (14)Two 16-Bit Software Timers; (15)10 High Speed Capture/Compare (EPA); (16)Full Duplex Synchronous Serial I/O Port (SSIO); (17)Two Flexible 16-Bit Timer/Counters; (18)Quadrature Counting Inputs; (19)Flexible 8-/16-Bit External Bus; (20)Programmable Bus (HLD/HLDA); (21)1.75ms 16 x 16 Multiply; (22)3ms 32/16 Divide; (23)68-Pin and 52-Pin PLCC Packages.
Diagrams

![]() |
![]() EN87C51FB24SF76 |
![]() |
![]() IC MCU 8BIT 16K OTP EXT 44-PLCC |
![]() Data Sheet |
![]() Negotiable |
|
||||
![]() |
![]() EN87C51FC1SF76 |
![]() |
![]() IC MCU 8BIT 32K OTP EXT 44-PLCC |
![]() Data Sheet |
![]() Negotiable |
|
||||
![]() |
![]() EN87C51RB24 |
![]() |
![]() IC MCU 8BIT 16K 24MHZ OTP 44PLCC |
![]() Data Sheet |
![]() Negotiable |
|
||||
![]() |
![]() EN87C521SF76 |
![]() |
![]() IC MCU 8BIT 8K 16MHZ OTP 44-PLCC |
![]() Data Sheet |
![]() Negotiable |
|
||||
![]() |
![]() EN87C51RC24 |
![]() |
![]() IC MCU 8BIT 32K 24MHZ OTP 44PLCC |
![]() Data Sheet |
![]() Negotiable |
|
||||
![]() |
![]() EN87C51RA1 |
![]() |
![]() IC MCU 8BIT 8K 16MHZ OTP 44-PLCC |
![]() Data Sheet |
![]() Negotiable |
|
||||
(Hong Kong)








