Product Summary
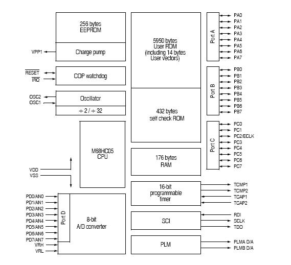
The MC68HC705B5CFN microcomputer (MCU) is a member of Freescale’s MC68HC05 family of low-cost single chip microcomputers. The MC68HC705B5CFN contains an on-chip oscillator, CPU, RAM, ROM, EEPROM, A/D converter, pulse length modulated outputs, I/O, serial communications interface, programmable timer system and watchdog. The fully static design allows operation at frequencies down to dc to further reduce the already low power consumption to a few micro-amps.
Parametrics
MC68HC705B5CFN absolute maximum ratings: (1)Supply voltage VDD:–0.5V to +7.0V; (2)Input voltage (Except VPP1) VIN VSS:–0.5V to VDD+0.5V; (3)Input voltage Self-check mode (IRQ pin only) VIN: VSS–0.5 to 2VDD + 0.5V; (4)Operating temperature range TA TL to TH: –40℃ to +85℃; (5)Storage temperature range TSTG:–65℃ to +150℃; (6)Current drain per pin (excluding VDD and VSS): Source: 25mA, Sink: 45mA.
Features
MC68HC705B5CFN features: (1)Fully static design featuring the industry standard M68HC05 family CPU core; (2)On chip crystal oscillator with divide by 2 or a software selectable divide by 32 option (SLOW mode); (3)2.1 MHz internal operating frequency at 5V; 1.0 MHz at 3V; (4)High speed version available; (5)176 bytes of RAM; (6)5936 bytes of user ROM plus 14 bytes of user vectors; (7)256 bytes of byte erasable EEPROM with internal charge pump and security bit; (8)Write/erase protect bit for 224 of the 256 bytes EEPROM; (9)Self test/bootstrap mode; (10)Power saving STOP, WAIT and SLOW modes; (11)Three 8-bit parallel I/O ports and one 8-bit input-only port; (12)Software option available to output the internal E-clock to port pin PC2; (13)16-bit timer with 2 input captures and 2 output compares; (14)Computer operating properly (COP) watchdog timer; (15)Serial communications interface system (SCI) with independent transmitter/receiver baud rate selection; receiver wake up function for use in multi-receiver systems; (16)8 channel A/D converter; (17)2 pulse length modulation systems which can be used as D/A converters; (18)One interrupt request input plus 4 on-board hardware interrupt sources; (19)Available in 52-pin plastic leaded chip carrier (PLCC), 64-pin quad flat pack (QFP) and 56-pin shrink dual in line (SDIP) packages; (20)Complete development system support available using the MMDS05 development station with the M68HC05B32EM emulation module; (21)Extended operating temperature range of -40℃ to +125℃.
Diagrams

![]() |
![]() MC6800 |
![]() Other |
![]() |
![]() Data Sheet |
![]() Negotiable |
|
||||
![]() |
![]() MC6801 |
![]() Other |
![]() |
![]() Data Sheet |
![]() Negotiable |
|
||||
![]() |
![]() MC68020 |
![]() Other |
![]() |
![]() Data Sheet |
![]() Negotiable |
|
||||
![]() |
![]() MC68020CEH16E |
![]() Freescale Semiconductor |
![]() Microprocessors (MPU) 32-BIT MPU |
![]() Data Sheet |
![]() Negotiable |
|
||||
![]() |
![]() MC68020CEH25E |
![]() Freescale Semiconductor |
![]() Microprocessors (MPU) 32-BIT MPU |
![]() Data Sheet |
![]() Negotiable |
|
||||
![]() |
![]() MC68020CRC16E |
![]() Freescale Semiconductor |
![]() Microprocessors (MPU) 32-BIT MPU |
![]() Data Sheet |
![]() Negotiable |
|
||||
(Hong Kong)









