Product Summary
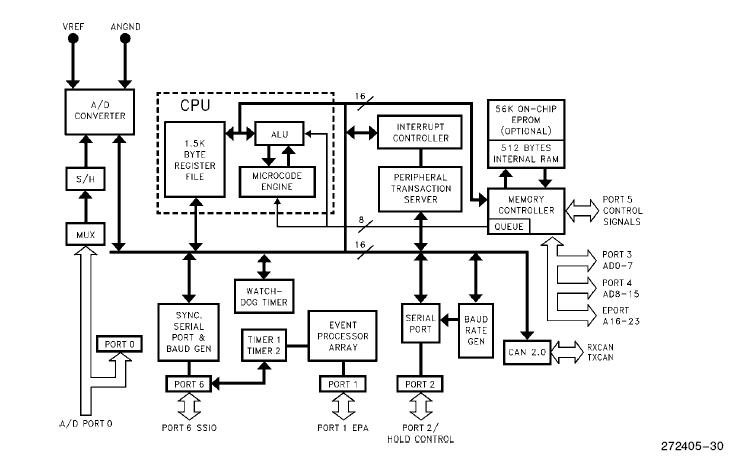
The N87C196CB is an advanced 16-bit CHMOS microcontroller with integrated CAN 2.0. The N87C196CB is based upon the MCS 96 Kx/Jx microcontroller product families with enhancements ideal for automotive and industrial applications. The CA/CB are the first devices in the Kx family to support networking through the integration of the CAN 2.0 (Controller Area Network) peripheral on-chip. The N87C196CB offers the highest memory density of the MCS 96 microcontroller family, with 56K of on-chip EPROM, 1.5K of on-chip register RAM, and 512 bytes of additional RAM (Code RAM). In addition, theN87C196CB provides up to 16Mbyte of Linear Address Space.
Parametrics
N87C196CB absolute maximum ratings: (1)Storage Temperature: -60℃ to +150℃; (2)Voltage from VPP or EA to VSS or ANGND: -0.5V to +13.0V; (3) Voltage from Any Other Pin to VSS or ANGND: -0.5 to +7.0V this includes VPP on ROM and CPU devices; (4) Power Dissipation: 1.0W.
Features
N87C196CB features: (1)High Performance CHMOS 16-Bit CPU (up to 20MHz Operation); (2)Register-Register Architecture; (3)Up to 56 Kbytes of On-Chip EPROM; (4)Up to 1.5Kbyte of On-Chip Register RAM; (5)Up to 512 Bytes of Additional RAM (Code RAM); (6)Up to 16Mbyte Linear Address Space; (7)Supports CAN (Controller Area Network) Specification 2.0; (8)15 Message Objects of 8 Bytes Data Length; (9)10-Bit A/D with Sample/Hold; (10)38 Prioritized Interrupts; (11)Up to Seven 8-Bit (60) I/O Ports; (12)Full Duplex Serial Port (SIO) with Dedicated Baud rate Generator; (13)Full Duplex Synchronous Serial I/O Port (SSIO); (14)Inter processor Communication Slave Port; (15)Selectable Bus Timing Modes for Flexible Interfacing; (16)Oscillator Fail Detection Circuitry; (17)High Speed Peripheral Transaction Server (PTS); (18)Two Dedicated 16-Bit High-Speed Compare Registers; (19)High Speed Capture/Compare (EPA); (20)Two Flexible 16-Bit Timer Counters; (21)Flexible 8-/16-Bit External Bus (Programmable); (22)Programmable Bus (HLD/HLDA); (23)1.4μs 16 x 16 Multiply; (24)2.4μs 32/16 Divide.
Diagrams

![]() |
![]() N87C196KB16 |
![]() |
![]() IC MCU 16-BIT 5V 8K OTP 68-PLCC |
![]() Data Sheet |
![]() Negotiable |
|
||||
![]() |
![]() N87C196KC20 |
![]() |
![]() IC MCU 16BIT 5V 16K OTP 68PLCC |
![]() Data Sheet |
![]() Negotiable |
|
||||
![]() |
![]() N87C196KD |
![]() |
![]() IC MCU 16-BIT 5V 32K OTP 68-PLCC |
![]() Data Sheet |
![]() Negotiable |
|
||||
![]() |
![]() N87C196KD20 |
![]() |
![]() IC MCU 16-BIT 5V 32K OTP 68-PLCC |
![]() Data Sheet |
![]() Negotiable |
|
||||
![]() |
![]() N87C196MC |
![]() |
![]() IC MCU 16BIT 5V 16K OTP 84-PLCC |
![]() Data Sheet |
![]() Negotiable |
|
||||
![]() |
![]() N87C196MD |
![]() |
![]() IC MCU 16-BIT 5V 16K OTP 84-PLCC |
![]() Data Sheet |
![]() Negotiable |
|
||||
(Hong Kong)








